Sign in

close
Create an Account

Shopping cart

close

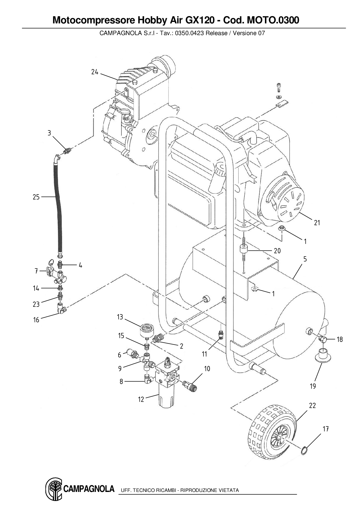
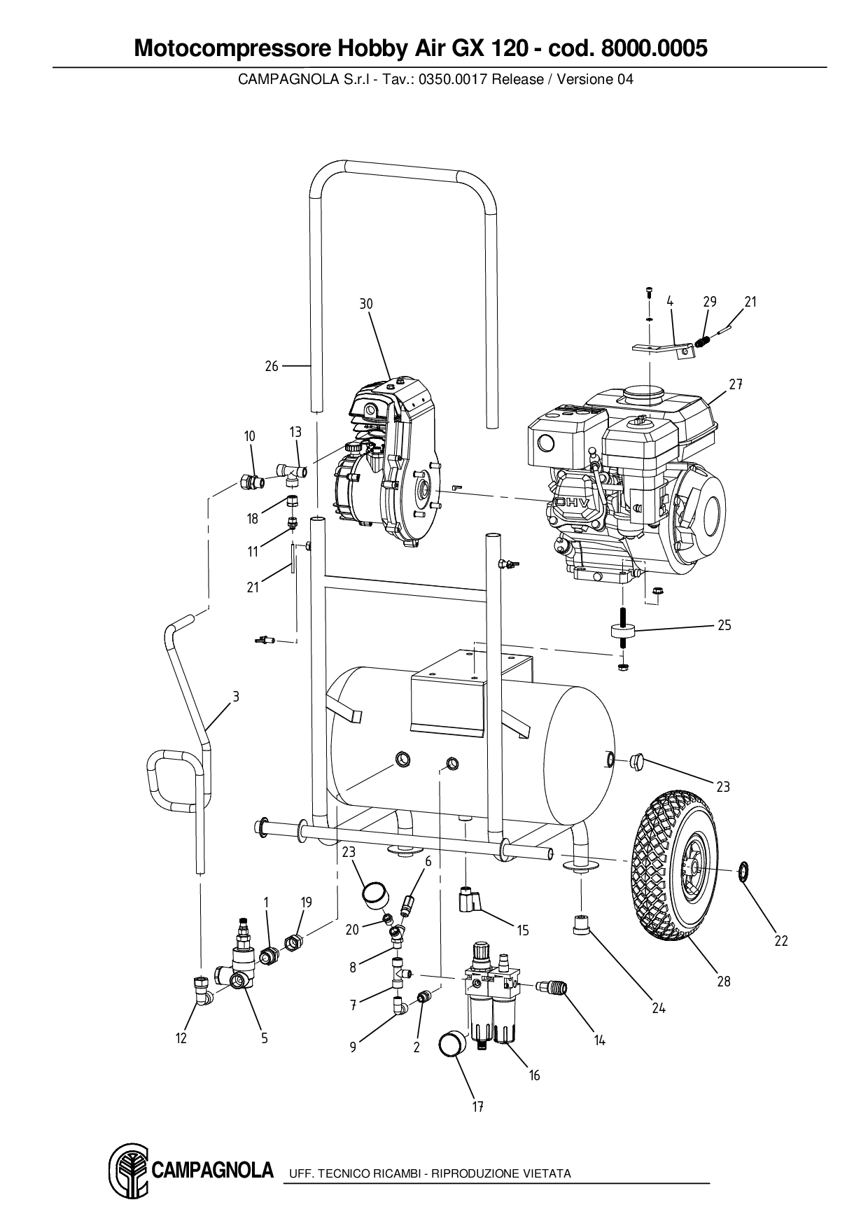
Exploded parts

Have you tried the interactive explosions yet?
Find in a moment the replacement that suits you, consulting an interactive technical drawing

Do you need a spare part for your Campagnola product? You are in the right place!
Enter the end-product code number or the spare part code number or the spare part name in the “search” field and click on the magnifying glass. You will find all the exploded views PDF documents related to what you are looking for.

543 Elements

Scroll To Top Sidebar